SW8B Xiao Expansion
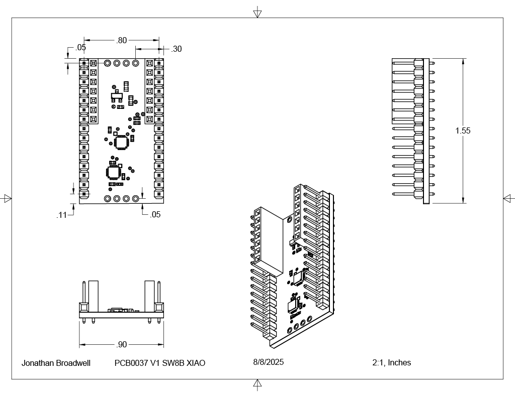
Serial Wombat SW8B PCB0036 Xiao Expansion Board with 2 SW8B chips
In initial release versions of this board Pull Up Resistors must be added or enabled via solder jumper (see below) in order for the Xiao board to access the Serial Wombat chips. Pull ups are enabled by default on later boards. If you purchased a board from Amazon or Kickstarter before November 2025, you may request a free replacement with pre-enabled pull ups by emailing help@serialwombat.com.
Revision History
P37V1:
This is the initial revision of the board, sent out as Kickstarter rewards, and sent to Amazon in July 2025.
I2C Pull ups must be enabled via solder jumper (see next paragraph) or added externally for proper board operation.
This board has one known issue. The Ground Plane intrudes slightly into the solder jumper for the I2C pull up resistors. A small section of this plane can be seen in between the outer jumper traces at the bottom of the jumper. A solder blob that connect the solder jumper pads to this small section will cause a short between V3.3 and Ground rendering the board inoperable. Workaround is to solder very carefully to avoid touching this pad, or use external I2C Pull Up resistors. Based on user feedback nearly all users will want the on board pull ups enabled. Boards sent to Amazon in September or later will have the solder jumper pre-soldered, so I2C Pull ups will be active by default. Version 2 and later will remove this solder jumper. I2C pull up resistors will be placed close to the edge of the board and away from other components for users who desire to remove them.
If this issue is causing problems for you, contact me and I will replace your boards with new ones with the jumper pre-soldered, plus a couple of free extra items!
Resources:
API Definitions (Pulled from Arduino C++ library, but similar or identical on Arduino, C#, Python)
WombatPanel real time control panel and code generation application
Serial Wombat Protocol protocol analyzer for Saleae Logic application